Julien TESSIER et la Ciné-Kodak
Un frenchie aux origines du cinéma amateur
En 1923, Eastman-Kodak lance le film inversible 16mm ininflammable et ouvre la voie au cinéma amateur. La camera et le projecteur qu'ils proposent simultanément sont l'œuvre d'un ingénieur français, Julien TESSIER ...
La naissance du cinéma amateur
Depuis son invention en 1889, le cinéma avait vu se développer de nombreuses techniques et formats de film. De multiples améliorations avaient été apportées aux matériels et aux supports mais les formats étaient extrêmement nombreux. Si les professionnels avaient opté globalement pour le film 35mm, dénommé "standard". Il en était tout autrement pour le cinéma amateur.
La solution apparut avec le film 16mm réversible conçu par John G. Capstaff, des laboratoires de recherche Eastman-Kodak. Une première présentation en fut faite dès 1920. La décision fut alors prise de développer ce nouveau support et de concevoir les différents matériels et services nécessaires à son exploitation. George Eastman invita alors les principaux industriels du secteur Bell & Howell Co. et Victor Animatograph Corp. à partager ce concept et à concevoir les caméras et projecteurs permettant de l'utiliser. Eastman-Kodak en confia leur développent à un ingénieur français Julien TESSIER.
En 1920, il dépose ses premiers brevets pour Eastman-Kodak avant que ne lui soit confié le développement des matériels cinématographiques utilisant le format 16mm. Dès le mois de Mai 1930 se dessine l'ébauche de la future "Ciné-Kodak". En 1922 il présente un prototype au boitier gainé de cuir.(Ce prototype est présenté sur le site du George Eastman Museum de Rochester).
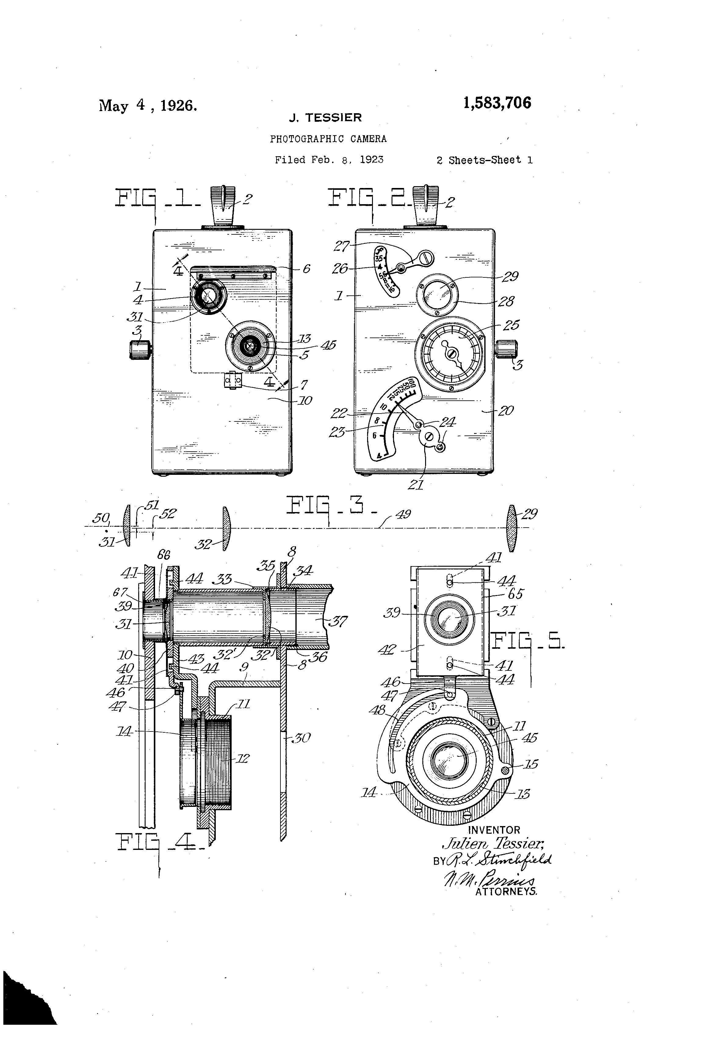
En 1923 Julien TESSIER déposera l'ensemble des brevets de la gamme de matériels proposés par Eastman-Kodak et présentés dans les transactions de la S.M.P.E (Society of Motion Picture Engineers) en mai 1923.
Julien TESSIER avait alors 45 ans. Il décédera en 1969 à l'âge de 91 ans
Brevets
Ci-dessous, voici les multiples brevets déposés par Julien TESSIER pour Eastman-Kodak et concernant la caméra "Ciné-Kodak" et le projecteur "Kodascope" ainsi que plusieurs accessoires, trépied et "Splicer" (accessoire de montage). Cliquez sur les images pour afficher le brevet au format PDF. Vous pouvez retrouver la page dédiée à la "Ciné-Camera" d'Eastman-Kodak en cliquant ici .
Motion picture apparatus - 03/05/1920 - US1572252
Le premier prototype de ce que sera la caméra "Ciné-Kodak" trois an plus tard.
"Mon invention concerne les appareils de cinéma et plus particulièrement les caméras affectées à la prise de vues, les images d'amateurs. A cette fin, les objectifs de mon invention sont de fournir un appareil photo qui soit compact et facile à utiliser afin qu'il puisse être facilement transporté... "
Operating handle for motion picture cameras - 17/11/1922 - US1469830
Brevet de la manivelle d'entrainement qui équipera la version définitive de la caméra "Ciné-Kodak".
"La présente invention concerne une poignée rabattable pour une caméra cinématographique, et un boîtier de caméra à tête fraisée pour l'adapter particulièrement à cette poignée."
Motion picture camera - 12/02/1923 - US1583707
Présentation définitive de la caméra "Ciné-Kodak".
"La présente invention concerne les caméras cinématographiques et plus particulièrement ces caméras conçues pour être utilisées par des amateurs et des personnes non qualifiées. - L'objet principal de cette invention est de fournir des moyens par lesquels il sera impossible de fermer ou d'utiliser la caméra à moins que toutes les pièces qui nécessitent une manipulation en relation avec le chargement de la caméra soient dans la position correcte ou opérationnelle..."
Sources
- Le site "Lantern" pour les sources d'époque..
- Le site du George Eastman Kodak de Rochester
- Google "Patent" pour les brevets
- Mes échanges avec le petit fils de Julien TESSIER












